Электровакуумный триод, или Разные пути решения одной проблемы
Виктор Пестриков,
д.т.н.,
профессор СПбГУСЭ
Появление первой радиолампы, электровакуумного диода привело к значительному прогрессу в развитии техники приема радиосигнала. Однако вопрос усиления электрического сигнала, как высокочастотного, так и низкочастотного, оставался открытым. Над этой проблемой работали ученые разных стран, но наиболее ощутимые результаты были получены в Германии и США, немалый вклад в ее решение внесли и российские исследователи. Понятно, что все они шли к своей цели разными путями. Едва ли какое-нибудь другое изобретение повлияло на развитие радиосвязи более ощутимо, чем усилительная трехэлектродная электронная лампа. Спор о том, кто же первым подошел к ее созданию, продолжается до сих пор.
От катодной трубки — к катодному реле

Роберт фон Либен
Будущий изобретатель немецкой усилительной электронной лампы Роберт фон Либен (Robert von Lieben) появился на свет в Вене 5 сентября 1878 года в доме, расположенном недалеко от Венской оперы. Его отец, Леопольд фон Либен (Leopold von Lieben, 1835–1915), банкир, президент венской биржи, дал сыну неплохое образование, направив его учиться в физико-химическую школу. Интересно, что сам глава семьи в ту пору настолько увлекся электричеством, предметом всеоб щего внимания тех лет, что на короткое время устроился сотрудником без оплаты в компанию Siemens в Нюрнберге.

Вальтер Нернст
Полного университетского образования Роберт, однако, не получил, так как посещал лекции в Университете Вены по выбору, на правах вольного слушателя. Стремление заниматься наукой привело его в Геттингенский университет, где он проработал целый учебный год (1899/1900) помощником у известного немецкого физика и химика профессора Вальтера Нернста (Walther Hermann Nernst, 1864–1941), обратив на себя его внимание необыкновенным прилежанием и широтой научного кругозора. Очень скоро у них сложились дружественные отношения. В последующие годы В. Нернст называл молодого коллегу не просто своим любимым учеником, но и верным другом.

Лаборатория Роберта фон Либена в Вене. 1900 г.
За время пребывания в университете Роберт фон Либен изучил особенности электрохимических фонографов, над усовершенствованием которых работал его наставник, и, проводя эксперименты, за интересовался проблемой усиления звуковых сигналов. Этот опыт весьма пригодился ему в дальнейшем, когда он вплотную занялся созданием приборов для усиления звуковых телефонных сигналов. В 1900 году молодой ученый возвращается в Вену и в доме родителей создает свою собственную лабораторию, где и проводит различные физико-технические опыты, в частности, по изучению электрических явлений в разряженных газах.

Карл Фердинанд Браун
В этот же период другой немецкий физик — Артур Венельт (Arthur Rudolph Berthold Wehnelt, 1871–1944) проводил целый комплекс экспериментов с катодными трубками Брауна. Трубка была названа по фамилии профессора Страсбургского университета Карла Фердинанда Брауна (KarlFerdinand Braun, 1850–1918), описавшего ее в 1897 году. Позже, после того как был открыт электрон, носитель элементарного электрического заряда, трубка стала называться «электронно-лучевой». Как известно, в трубке Брауна катодный луч с большим ускорением движется от катода к экрану, покрытому люминофором — веществом, светящимся при электронной бомбардировке.
Наибольший интерес среди работ, проводимых А. Венельтом, представляли эксперименты, относящиеся к усилению потока катодных лучей в трубке Брауна, и изучение законов испускания электронов нагретыми телами. Для получения сильных катодных лучей при сравнительно низких потенциалах ученый воспользовался термоионными токами. В трубке, изготовленной для этой цели, катод состоял из платиновой пластинки, покрытой окисью какого-либо металла, а анод был сделан из алюминиевой проволочки. Пластинка накалялась посредством тока вспомогательной батареи и соединялась с отрицательным полюсом источника электричества, в то время как положительный полюс был соединен с алюминиевой проволочкой. Из раскаленного катода уже при разности потенциалов в 100–200 вольт начинали исходить сильные катодные лучи. В проведенных экспериментах соответствующим изменением разности потенциалов удавалось не только формировать направление катодных лучей, но и менять их скорость, в частности, в сторону ее увеличения.

Катодная трубка Ф. Брауна

Катодная трубка-выпрямитель
конструкции А. Венельта. 1904 г.
В 1902 году А. Венельт сделал важное усовершенствование катодной трубки: ввел в нее цилиндрический электрод, заряженный отрицательно, который потом стали называть «венельт-цилиндр», по-существу это был подогреваемый катод. Изменяя силу заряда на этом электроде, можно было усиливать или ослаблять электронный поток с катода, делая точку на экране то более яркой, то тусклой. В 1904 году ученый получил патент на катодную трубку-выпрямитель (диод), состоящий из подогреваемого катода и анода. К слову, именно Артур Венельт ввел в употребление слово «электроника».
Другим важным результатом исследований А. Венельта стало изобретение в 1903 году оксидного катода. Подвергнув проверке закон испускания электронов нагретыми телами, открытый незадолго до этого английским физиком Оуэном У. Ричардсоном (Owen Willans Richardson, 1879–1959), ученый выбрал для экспериментов образцы платиновой проволочки. Первый же опыт полностью подтвердил закон, но Венельт спустя некоторое время решил повторить эксперимент еще с одним образцом. Каково же было его удивление, когда платина начала испускать поток электронов, во много раз более сильный, чем накануне (прибор, измерявший электронную эмиссию, едва не вышел из строя). Поскольку свойства металла не могли так резко измениться, оставалось предположить, что виновником электронного «шквала» явилось случайно попавшее на поверхность проволочки вещество с более высокой способностью к эмиссии электронов, чем платина. Но что же это за вещество? Ученый поочередно наносил на платину различные материалы, «подозреваемые» в изменении электронного потока, но все они без труда доказывали свою явную непричастность к этому делу. И когда Венельт уже совсем было отчаялся докопаться до истины, он вдруг вспомнил, что в смазке насосной установки, принимавшей участие в эксперименте, содержалась окись бария… Ученый вновь включил приборы — и уже через несколько мгновений его радость не знала границ. Так было открыто вещество, которое по способности испускать электроны при нагреве не имеет себе равных.
Однако к такому выводу научный мир пришел не сразу. После того как А. Венельт опубликовал результаты своих опытов, многие физики занялись их проверкой. Одно за другим в печати появлялись сообщения, что эмиссионная способность окиси бария сильно преувеличена. Да и самому Венельту больше не удавалось подтвердить свое открытие.
Между тем отец Роберта фон Либена, всячески поддерживая увлечение сына техникой, в 1904 году покупает ему телефонную фабрику в городе Махрен (ныне Оломоуц, Моравия, Чехия). Здесь Роберт познакомился с сотрудниками фабричной лаборатории Евгением Рейцем (Eugen Reisz) и Зигмундом Страусом (Siegmund Strauss, 1875–1942), своими будущими соавторами по созданию усилительных электронных ламп.
Анализируя надежность работы телефонных релейных усилителей, Роберт пришел к выводу о необходимости замены механических реле другими, более совершенными приборами. Это было связано с тем, что релейный усилитель, хотя и мог дать очень большой «коэффициент усиления» мощности, обеспечивая гальваническую развязку входа и выхода, но имел невысокое быстродействие и не мог усиливать аналоговые плавно изменяющиеся сигналы, каковыми являются звуковые телефонные сигналы. Для этой цели требовались другие устройства. Будучи физиком, Роберт был в курсе последних достижений в области газоразрядных приборов и знал о работах своего соотечественника Артура Венельта. (Последний с 1904 года был профессором физики в Нюрнбергском университете, а после переезда в Берлин в 1906 году пребывал в той же должности в столичном университете вплоть до 1934 года).

Катодно-лучевое реле Р. Ф он Либена.
Немецкий патент № 179807
от 4 марта 1906 г.
Поэтому не удивительно, что Р. Либен для усиления звуковых телефонных сигналов решил разработать прибор на основе катодной трубки Брауна-Венельта. В результате напряженных исследований Роберт фон Либен конструирует усилительную электронную ламторую получает немецкий патент за № 179807 от 4 марта 1906 года, где лампа названа «катодно-лучевым реле». Отсюда и пошло последующее название электронных ламп — «катодное реле», которое долгое время использовалось в радиотехнике. Формулировка изобретения была следующей: «Катодно-лучевое реле электрических волн для больших частот, отличающееся тем, что медленные катодные лучи, исходящие в известной степени из катода с вогнутым отражателем, покрытого накаливаемым металлическим оксидом, находятся под влиянием усиливаемых электроволн таким образом, что они вызывают в электрической цепи (контуре) волны одинаковой частоты, но более высокой амплитуды».
В патенте Р. Либена впервые сформулирован принцип усиления электрического сигнала в вакуумной электронной лампе. Заметим, что эта первая усилительная электронная вакуумная лампа имела, кроме катода прямого накала, анода, управляющего электрода, еще и катушку индуктивности, что не позволяло назвать ее трехэлектродной лампой, которая потом стала доминирующей в радиотехнике. Конструкцию лампы этого типа немецкий ученый предложил позже, после того как стало известно о работах американца Ли де Фореста.
Появившаяся усилительная лампа получила название «трубка Либена», но иногда ее называли и «лампой Либена». При ее практическом внедрении встретились некоторые трудности но, невзирая на это, лампа была опробована в качестве усилителя звукового сигнала в телефонии вместо реле и, что важно, доказала свою работоспособность.
От газовой горелки — к аудиону
Если отец изобретателя немецкой электровакуумной лампы Роберта фон Либена не чинил препятствий сыну в занятиях наукой, то родитель будущего американского изобретателя электровакуумной лампы Ли де Фореста (1873–1961) после окончания сыном школы настаивал на том, чтобы тот связал свою карьеру с получением духовного сана, поскольку сам был священником Первой конгрегационной церкви в городе Каунсил Блафс (штат Айова, США). Однако молодой человек настоял на своем и в 1893 году поступил в Шеффилдскую научную школу Йельского университета (Sheffield Scientific School of Yale University). Это было одно из немногих учебных заведений США, дающих первоклассное научное образование.
За время учебы в колледже Ли проявил себя как скромный, трудолюбивый и очень способный к наукам студент. Такой склад характера, однако, не помешал ему в будущем стать большим жизнелюбом и жениться официально четыре раза. Примечательно, что последняя жена Ли де Фореста, Мария, увлекалась радиолюбительством и даже имела собственный позывной (WB6ZJR).
Молодой де Форест, познакомившись с работами Герца и Маркони, увлекся изучением распространения электромагнитных волн. В 1899 году он защитил диссертацию по физике (Ph. D. in physics) на тему «Отражение герцевых волн с концов двухпроводной линии» («Reflection of Hertzian Waves from the Ends of Parallel Wires»). Эта научная работа считается первой в США диссертацией по радиосвязи.

Радиоприемник «Responder»
(электролитический детектор)
Ли де Фореста. 1900 г.
Через год Ли поступает на работу в чикагскую Western Electric Company, в отдел генераторов постоянного тока. Вслед за этим — в телефонный сектор, а потом — в экспериментальную лабораторию. В это время он разрабатывает конструкцию электролитического детектора герцевых волн (так тогда называли радиоволны), а также проектирует генератор переменного тока. Но затем, не проработав и года, уходит из компании и в 1901 году основывает собственную фирму — American De Forest Wireless Telegraph Co. (впоследствии United Wireless Telegraph Co.). Компания Ли де Фореста начинает изготовление радиоприемников с электролитическим детектором под названием «Responder», предназначенных для бизнесменов и военных. Вскоре фирма обанкротилась — аппараты оказались ненадежными и часто ломались. Кроме того, бизнесменом Ли был неважным и его неоднократно обманывали деловые партнеры.

Роберт Бунзен. 1850 г.
Однако попытку создать надежный детектор для качественного приема радиоволн де Форест не оставил и продолжал серию экспериментов, которые подтолкнули его к изобретению усилительной электровакуумной лампы. Придя к выводу о том, что детектор должен содержать нагревательный элемент, он еще более утвердился в этой мысли, когда провел эксперименты с бунзеновской горелкой. Своим названием горелка обязана немецкому химику Роберту Бунзену (Robert Wilhelm Bunsen, 1811–1899, член-корреспондент Петербургской АН с 1862 г.), который изобрел ее в 1850 году. Особенность горелки заключалась в том, что газ в ней смешивался с воздухом перед сжиганием, а не в точке сжигания. Горелка не коптила и позволяла регулировать величину пламени.

Бунзеновская горелка
Роберта Бунзена
В 1903 году де Форест обнаружил, что детектором могут служить нагретые электроды, расположенные на некотором расстоянии друг от друга. В этом его убедил эксперимент, в котором в пламя бунзеновской горелки поместили два электрода. К одному электроду была подключена антенна, а к другому — земля и, параллельно электродам, батарея с наушниками. При приеме антенной радиоволн в телефонах появлялся четко выраженный сигнал. В такой необычной схеме нагретые электроды и батарея выполняли функции детектора и усилителя.

Радиоприемник Ли де Фореста
с бунзеновской горелкой. 1903 г.
Удивительно, но этот прибор позволил принять радиосигналы с корабля, находившегося в бухте возле Нью-Йорка. Конечно, конструкция устройства была еще весьма далека от совершенства — это понимал и сам изобретатель. «Было очевидно, что для судовой радиостанции приспособление с газовым пламенем неприемлемо, — записал он в дневнике, — поэтому я стал искать способ нагревать газ непосредственно электрическим током».
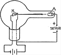
Скоро Ли де Форест установил, что нет нужды нагревать два электрода, достаточно делать это с одним, а другой сохранять холодным. После этого он видоизменил устройство, поместив всю конструкцию в герметичный стеклянный баллон, из которого был откачан воздух. В качестве нагревательного электрода была использована угольная нить, вблизи которой располагалась платиновая пластинка. Нагрев нити осуществлялся от специальной электрической батареи. Для увеличения воздействия радиоволн на газ экспериментатор обернул баллон лампы куском фольги. А третий электрод соединил с антенной — именно на него подавался радиосигнал. Фольга и была тем третьим элементом, который привел Ли де Фореста к великому изобретению.
Вот как об этом говорил сам ученый: «В этот момент я сообразил, что эффективность лампы может быть еще увеличена, если этот третий электрод поместить внутри ее… Третий электрод не должен быть сплошной пластиной. В соответствии с этим я снабдил Мак-Кэндлесса (Henry W. McCandless, владелец компании McCandless Lamp Co, которая изготовляла по заказу Ли де Фореста первые конструкции ламповых триодов в виде сферы с 1906 по 1916 год) небольшим куском платины, перфорированным множеством маленьких отверстий. Эта лампа работала во много раз лучше предшествующих, но чтобы упростить конструкцию, я решил изготовить третий электрод в форме решетки из простого куска проволоки, изогнутого в различных направлениях, и поместить его как можно ближе к нити накаливания». Теперь небольшие изменения напряжения на сетке приводили к большим изменениям тока в анодной цепи лампы. Форма колебаний тока в анодной цепи была такая же, как и в случае колебаний напряжения на сетке, — происходило усиление сигнала. В опытном образце лампы для нити накаливания использовалась батарея напряжением 6 В, а для анодной цепи — батарея на 22 В. Если теперь в анодную цепь лампы включалась нагрузка (например, телефон, резистор, колебательный контур или трансформатор), то получался усилитель на электронной лампе.

Аудион — трехэлектродная лампа
Ли де Фореста. 1906 г.
В результате исследований Ли де Фореста была создана электровакуумная усилительная радиолампа, содержащая три электрода: анод, сетку и катод. Другими словами, в попытке обеспечить потребность беспроволочной телеграфии иметь после приема более сильный сигнал радиостанций в сравнении с существовавшими тогда конструкциями детекторов, ученый изобрел трехэлектродную лампу, в которой управление анодного тока осуществлялось с помощью изменения электрического потенциала сетки. (Заметим, что созданная ранее «лампа Либена» для радиоприема не задумывалась, а предназначалась исключительно для усиления звуковых сигналов телефонных линий.)

Патент США № 841387
от 25.10.1906 г.,
выданный Ли де Форесту
на трехэлектродную лампу
25 октября 1906 года американский инженер Ли де Форест подал заявку на изобретение и 15 января следующего, 1907 года получил патент США за № 841387 на «Устройство для усиления слабых электрических токов» («Device for Amplifying Feeble Electric Currents»). Автор назвал свое изобретение «аудион» (от латинского слова «аудио» — «слушаю»). В № 1665 журнала «Scientific American Supplement» за ноябрь того же года была опубликована его статья «Аудион — новый приемник беспроволочной телеграфии» («The audion — a new receiver for wireless telegraphy»).

Аудионный радиоприемник Ли де Фореста.
Патент США № 879532 от 18.02.1908 г.
Через две недели, 29 января 1907 года, де Форест подает заявку на следующее важное изобретение — аудионный радиоприемник и 18 февраля 1908 года получает патент № 879532. Нужно заметить, что он был очень плодовитым изобретателем, получив за свою жизнь более 300 патентов. Конструкция этого приемника была запатентована и в России — под названием «Вибрационный детектор для приемной радиотелеграфной станции» («Привилегия № 21046 от 29.02.1912»).
Первые конструкции аудионов лишь немного усиливали принимаемый сигнал, но все же радиоприемники на их основе давали значительно более громкий звук, чем с использованием «вентиля Флеминга». Новый тип лампы пока еще не годился для использования в радиопередатчиках — аудионы быстро изнашивались и дорого стоили, что на первых порах сдерживало их внедрение в радиотехнику.
Идеи аудиона в развитии

Катодное реле конструкции Роберта фон
Либена, Е. Рейца и З. Страуса. Немецкий
патент № 236716 от 04.09.1910 г.

Аудионный радиоприемник. 1907 г.
Введение в двухэлектродную лампу всего лишь одного дополнительного электрода, сетки, произвело в радиотехнике настоящую революцию и указало ученым путь построения новых усилительных радиоламп. Австрийский физик Роберт фон Либен, узнав об изобретении аудиона, пересмотрел свои взгляды на построение электровакуумных усилительных ламп для телефонных линий и начал вводить в свои новые конструкции катодных реле сетки, отказавшись от магнитных катушек для управления анодным током.
4 сентября 1910 года он вместе с Е. Рейцем (Eugen Reisz) и З. Страусом (Siegmund Strauss) запатентовал сразу две новые конструкции катодных реле: «Relais fur undulierende Strome, bei welchem durch die zu verstarkenden Stromschwankungen ein lonisator beeinflubt wird» («Реле генерирующего тока, в котором усиление тока осуществляется ионизатором») — патент № 236716 и дополнение к предыдущему изобретению — патент № 249142 на «Relais fur undulierende Strome» («Реле генерирующего тока»). В частности, патентом № 249142 была узаконена оригинальная конструкция триода, отличного от конструкции Ли де Фореста. В триоде немецкого изобретателя сетка располагалась в центре стеклянного баллона и была выполнена в виде круга, изготовленного из перфорированного алюминиевого листа. Катод лампы покрывался слоем окиси бария для увеличения тока эмиссии. Его крепление было сделано на стеклянной ножке, подобно осветительным лампам того времени. Анод лампы представлял собой спираль из алюминиевой проволоки. Впечатляют технические характеристики триода фон Либена: длина — 22 см; диаметр — 8,5–10,5 см; коэффициент усиления — 3,5–4; время жизни — около 400 часов. Кроме того, в баллон лампы вводились пары ртути, которые по замыслу должны были создавать дополнительную ионизацию и тем самым увеличивать анодный ток. Новая электронная лампа, согласно патенту 249142, хотя и предназначалась для усиления сигналов телефонных линий, но в самом описании патента было отмечено, что ее можно использовать и в радиотехнике.

Трехэлектродная лампа конструкции Роберта фон Либена, Е. Рейца и З. Страуса.
Немецкий патент № 249142 от 20.12.1910 г.

Трехэлектродная лампа Роберта
фон Либена (1910 г.) в сравнении
с современными радиолампами

Текст соглашения о
создании
«Консорциума Либена»
Дополнительным патентом фон Либена заинтересовались немецкие радиотехнические и электротехнические фирмы Siemens и Halske, AEG, Telefunken, Felten и Guillaume. И уже в 1912 году было подписано соглашение о создании консорциума, получившего название «Консорциум Либена», которым предусматривалась передача ему прав, принадлежавших физику Роберту фон Либену на изобретенную им усилительную лампу по патенту № 249142. На следующий год, 10 апреля 1913 года, сотрудник компании Telefunken Александр Мейсснер (Alexander Meissner, 1883–1958) запатентовал первый радиопередатчик незатухающих колебаний на трехэлектродной лампе конструкции фон Либена. 21 июня состоялась практическая демонстрация радиотелеграфной связи с использованием передатчика, изготовленного согласно патенту. К великому сожалению, сам изобретатель немецкой трехэлектродной лампы Роберт фон Либен об этом уже ничего не знал, он ушел из жизни 20 февраля 1913 года после тяжелой болезни.
Трехэлектродные вакуумные лампы конструкции фон Либена еще некоторое время имели применение, в основном в Германии, но все же именно конструкция Ли де Фореста, оказавшись более технологичной и перспективной, стала материальной основой, или элементной базой, первой «электронной революции».
Дальнейшее совершенствование трехэлектродной радиолампы
Трехэлектродная лампа, став первой в ряду усилительных приборов, послужила основой для дальнейшего совершенствования электронных ламп и, как закономерный итог, привела к рождению новой области науки и техники — электроники. В 1910 году известный английский радиоинженер Уильям Икклз (William Henry Eccles, 1875–1966) предложил для трехэлектродной лампы название «триод». Ему же принадлежит введение характеристики детектирования, то есть зависимости выпрямленного тока от приложенного напряжения.
Изобретатель вакуумного диода Дж. А. Флеминг (John Ambrose Fleming, 1849–1945), узнав об изобретении Ли де Фореста, сказал следующее: «В октябре 1906 года д-р Форест описал прибор, названный им аудионом, который является простым повторением моего, описанного восемнадцатью месяцами раньше. Введенное изменение не дает существенного различия в действиях прибора как детектора». Вскоре, однако, между ними возник патентный спор по поводу того, считать или нет третий электрод чем-то новым по сравнению с «пустотным реле» Флеминга.
На состоявшемся в 1916 году заседании американский суд признал изобретение своего соотечественника лишь как изменение конструкции диода и тем самым подтвердил полный приоритет Флеминга в изобретении электронной лампы вообще. Время же распорядилось по-своему и сохранило приоритет создателя трехэлектродной лампы за Ли де Форестом. Это имя сегодня стоит в одном ряду с создателем радиосвязи Александром Поповым, у которого тоже пытались отобрать пальму первенства. Любопытный факт. Сказать достоверно, что Попов и де Форест никогда не встречались, наверное, нельзя — по крайней мере однажды судьба предоставила им такую возможность. В 1893 году Александр Степанович Попов в составе российской делегации прибыл на Всемирную выставку в Чикаго. В это же самое время здесь пребывал и Ли де Форест, правда в иной, далеко не столь почетной роли. Студент Йельского университета попросту подрабатывал, катая посетителей на специальном стуле с колесами по залам выставки. И как знать, не предоставил ли тогда будущий творец трехэлектродной лампы возможность воспользоваться этой услугой будущему творцу радиосвязи?

Устройство «вентиля Флеминга» (а) и аудиона Ли де Фореста (б)
Создатель триода Ли де Форест, как и создатель вакуумного диода Джон Флеминг, прожил долгую интересную жизнь и оставил потомкам научные мемуары под названием «Отец радио» (“Father Radio”), которые были изданы в 1950 году.
5 октября 1956 года в Париже состоялось награждение Ли Де Фореста французским орденом Почетного легиона. При вручении награды один из создателей квантовой механики физик Луи де Бройль (Louis de Broglie, 1892–1987) в своей речи сказал: «Специалисты всех областей науки и техники выражают признание и восхищение господину де Форесту за его гениальное изобретение».
Вначале триод использовался в качестве детектора и усилителя, но в дальнейшем стал основой генераторов высокой частоты. На триодах были сделаны первые усилители электрических токов. Благодаря аудиоусилителям удалось подключить к радиоприемнику громкоговоритель и прослушивать передачи целой аудиторией, в то время как на детекторном приемнике передачи прослушивались только через наушники и исключительно при полной тишине. В 1910 году де Форест провел первую музыкальную радиопередачу из чикагского театра «Метрополитен Хауз» — транслировалась опера с участием великого итальянского певца Энрико Карузо.
В 1913 году Гульельмо Маркони запатентовал анод радиолампы в виде цилиндра, и электронная лампа приобрела тот вид, в котором мы наблюдаем ее по сей день. Дальнейшее развитие электронных ламп шло в направлении усовершенствования катодов как источника электронов, достижения предельно возможного вакуума и увеличения дополнительных электродов сеток.
Катоды первых радиоламп были вольфрамовые и требовали много электроэнергии для разогрева, так как были заимствованы из осветительных ламп. В 1911 году американский физик-экспериментатор Уильям Дэвид Кулидж (William David Coolidge, 1873–1975) сделал оксидный катод, предложив использовать в ламповой промышленности вольфрамовую проволоку, покрытую окисью тория. Кроме того, ученый известен как изобретатель новой формы рентгеновской трубки (трубка Кулиджа). Он был сотрудником General Electric Company (GE), а с 1905 до 1963 года бессменно возглавлял ее главную электрическую научную лабораторию.

Ирвин Ленгмюр
Электронные лампы того времени были «мягкие», то есть с относительно невысоким разрежением внутри баллона, вследствие чего в работе прибора очень большую роль играла вторичная ионизация. Большой вклад в разработку методов изготовления электронных ламп с весьма высоким вакуумом («жестких»), работающих с чисто электронным разрядом, внес сотрудник научно-исследовательской лаборатории GE Company Ирвин Ленгмюр (Irving Langmuir, 1881–1957). Триод с высоким вакуумом он назвал «плиотроном» (plyotron).
Интерес Ленгмюра к явлениям, связанным с вакуумом, привел его к изобретению в 1916 году ртутного высоковакуумного насоса, который был в 100 раз более мощным, чем любой из ранее существовавших тогда для этих целей насосов. С его помощью ученому удалось создать низкое давление, необходимое для изготовления «жестких» радиоламп.
Приблизительно в это же время, занимаясь исследованием способности испускания электронов узкой пластинкой вольфрама, покрытой оксидом тория, Ленгмюр обнаружил новый эффект. Он состоял в том, что вольфрамовая нить «ведет себя лучше всего», если она покрыта слоем оксида тория толщиной всего в одну молекулу. Применительно к радиолампам такое покрытие понижает температуру катода и способствует его нормальной работе. Это открытие заставило ученого обратиться к изучению поверхностных явлений — молекулярной активности, которая наблюдается в тонких покрытиях или на поверхностях. И в 1932 году он удостоился Нобелевской премии «за открытия и исследования в области химии поверхностных явлений».
В результате исследований, проведенных Ирвином Ленгмюром, удалось значительно повысить экономичность существовавших катодов, однако усовершенствование катода на этом не закончилось. В период своих исследований ученый скон струировал очень важную для радиотехники двухэлектродную лампу, получившую название «кенотрон», которая нашла применение в выпрямителях источников питания.
Интересно заметить, что с 1903 по 1906 год Ленгмюр занимался научной работой в Геттингенском университете под руководством профессора В. Нернста, у которого до этого работал будущий создатель первой усилительной электровакуумной лампы Роберт фон Либен. В университете Ленгмюр защитил докторскую диссертацию (1906 г.), которую посвятил исследованию зависимостей свойств металлических нитей от их способности гореть в различных газах. Только в результате исследований этого ученого техника электронных приборов получила свой современный вид.
Первые триоды имели низкий коэффициент усиления и большую емкость между анодом и сеткой, что оказывало вредное влияние на работу лампы в диапазоне высоких частот. Изучением и устранением этих недостатков, а затем и возникших новых проблем занимались ученые в разных странах.
Вторая сетка в триоде заняла свое нынешнее место в внутри лампы не сразу. По мере расширения знаний об особенностях работы триода становились известны и новые физические явления, оказывающие негативное воздействие на работу лампы. В связи с этим ученые, которые работали над устранением недостатков триода с помощью установки второй сетки, помещали ее в разные места внутри лампы, надеясь таким способом улучшить ее работу.
Первым ввел новую сетку в триод Ирвин Ленгмюр. Случилось это в 1913 году. Ее он расположил около катода и подал на нее небольшой положительный потенциал. Роль этой сетки, названной катодной, заключалась в ослаблении действия отрицательного пространственного заряда, что позволяло значительно уменьшить напряжение на аноде лампы.

Усилитель на триоде
с экранной сеткой
конструкции
В. Шоттки, 1916 г.
В 1914 году научный сотрудник лаборатории Weak Current Cable Laboratory компании Siemens and Halske Вальтер Шоттки (Walter Schottky, 1886–1976), кстати, ученик Макса Планка, работая над проблемой повышения коэффициента усиления триода, обнаружил зависимость термоэлектронной эмиссии от внешнего электрического поля, ускоряющего электроны. В случае когда эмиссирующая поверхность катода неоднородна и на ней есть «пятна» с различной работой выхода электронов, над поверхностью возникает электрическое «поле пятен». Это поле тормозит электроны, вылетающие из участков катода с меньшей, чем у соседних, работой выхода, что и приводит к уменьшению усиления лампы. Открытое явление получило название «эффекта Шоттки». Теоретически обосновав природу этого эффекта, ученый сделал вывод, что для увеличения коэффициента усиления триода надо ослабить влияние поля анода на катод по сравнению с влиянием поля сетки при одновременном поддержании поля постоянного тока у катода. Одним из методов решения проблемы явилась установка второй сетки вблизи анода. В 1915 году ученый предложил конструкцию усовершенствованного триода лампы с экранной сеткой, в котором влияние открытого эффекта было несколько ослаблено. На эту радиолампу 17 июня 1916 года Вальтер Шоттки получил немецкий патент № 304236. Запатентованная лампа была названа «экранированной лампой», или «тетродом», по числу электродов («тетра» по-гречески «четыре»).
Исследования по усовершенствованию триода велись и в лаборатории американской компании GE научными сотрудниками А. В. Халлом (Albert W. Hull, 1880 –1966) и Н. Х. Вильямсом (N. H. Williams). В 1924 году эти ученые работали над исследованием влияния эффекта Шоттки на устойчивость усиления колебаний высокой частоты триодом. В результате анализа полученных результатов они пришли к выводу о необходимости введения «экранирующей» сетки между анодом и управляющей сеткой триода, что позволило бы резко уменьшить проходную емкость (между анодом и управляющей сеткой) и тем самым получить устойчивое усиление. Результаты исследований были опубликованы в американ ском журнале “Physics Review” № 25 в 1925 году и вскоре нашли применение при конструировании радиоприемников.

Каптейн Раунд,
сотрудник Marconi
Company. 1926 г.

Тетрод S625
конструкции Раунда.
1927 г.
В 1926 году сотрудник Marconi Company англичанин Каптейн Раунд (Captain H. J. Round, 1881–1966) запатентовал конструкцию радиолампы с двумя сетками, отличную от конструкции В. Шоттки. Вторая сетка в ней располагалась уже между анодом и управляющей сеткой. На следующий год Marconi Company изготовила промышленный образец тетрода под маркой S625 конструкции К. Раунда. Особенность конструкции этого тетрода в том, что выводы анода и управляющей сетки внутри лампы тщательно экранированы и размещены на противоположных частях баллона (верхней и нижней), что позволило дополнительно уменьшить проходную емкость. Заметим, что в тетроде конструкции В. Шоттки все выводы были выведены на одну сторону — цоколь лампы.
Введение дополнительной сетки привело к уменьшению собственной емкости «управляющая сетка — анод» (примерно в 100 раз), что позволило не только существенно улучшить работу лампы на высоких частотах, но и увеличить (примерно на порядок) коэффициент усиления лампы без уменьшения анодного тока и без сдвига рабочего участка анодно-сеточной характеристики в сторону больших сеточных напряжений при заданном напряжении на аноде. Это в значительной степени позволило снять проблему нестабильной работы лампового каскада. Marconi Company и GE начали продажу тетродов в Англии на год раньше, чем в США.
Введение второй сетки, хотя и позволило получить очень большой коэффициент усиления, доходящий до 500–600, что во много раз больше, чем у триода, однако привело к появлению в лампе динатронного эффекта — явления выбивания из анода вторичных электронов.
В 1928 году специалисты голландской компании Philips Г. Хольст (G. Holst) и Б. Теллеген (В. D. Tellegen) ввели третью сетку между анодом и экранирующей сеткой, соединив ее с катодом. Новая сетка, позволившая избавиться от динатронного эффекта, получила название защитной или противодинатронной. Иногда ее называют пентодной. Созданная лампа с пятью электродами (катод, анод и три сетки) была названа пентодом (от греческого «пента» — «пять»). Она позволила значительно улучшить радиоприем и пользовалась популярностью при усилении как высоких, так и низких частот. Компания Philips быстро наладила массовое производство пентодов.

Профессор Ленинградского
политехнического института
А. А. Чернышев
Важным шагом в дальнейшем совершенствовании катодов радиоламп стала предложенная в 1921 году конструкция подогреваемого катода с питанием от переменного тока, которую разработал профессор Ленинградского политехнического института Александр Алексеевич Чернышев (1882–1940). Это свое изобретение автор защитил патентом СССР, полученным им в 1925 году. Использование подогреваемого катода с питанием от переменного тока явилось серьезным достижением в электронной технике. Интересно, что в 1923 году другой наш ученый, Александр Львович Минц (1895–1974), получил патент на катодный усилитель с лампами прямого накала, с питанием усилительной лампы от переменного тока.
Появление конструкций супергетеродинных приемников потребовало создания многосеточных электронных ламп. В 1932 году родился гексод («гекса» по-гречески «шесть»: лампа имела шесть электродов, четыре из которых — сетки). Гексоды использовались как смесительные лампы в супергетеродинных приемниках. Добавление к гексоду еще одной сетки дало возможность получить преобразовательную лампу, у которой в одном баллоне помещались смеситель и гетеродин. Новинку назвали гептодом («гепта» по-гречески «семь»). Гептоды выполнялись двух разновидностей, в зависимости от расположения сеток. Первый вариант: первая от катода сетка относится к управляющей генераторной части, следующая за ней — анод генераторной части, третья сетка — экранирующая. Остальные элементы лампы относятся к ее смесительной части. Отечественные лампы этого типа — 6А8 и СО-242. Второй вариант этой лампы появился в 1933 году и назывался «пентагрид», в нем экранирующая сетка одновременно выполняла функции анода генератора, а сетка между анодом и сигнальной сеткой являлась защитной. К лампам второго типа относятся 1А1П, 1А2П, 6А7, 6А10С и 6А2П.
Наряду с многосеточными частотопреобразовательными радиолампами появились такие, у которых в одном баллоне находился триод в комбинации с другим типом ламп. Эти лампы стали называться комбинированными. Тетроды через некоторое время практически были вытеснены пентодами и лучевыми тетродами. Первые лучевые тетроды появились в 1936 году. Для подавления динатронного эффекта в них использовались специальные электроды, с помощью которых основной поток электронов фокусировался в узкие пучки — «лучи», и в результате этого вблизи анода создавался пространственный заряд, который препятствовал попаданию вторичных электронов из анода на экранирующую сетку. Лучевые тетроды хотя и не имели защитной сетки, но обладали лучшими характеристиками, чем пентоды, так как позволяли развивать большие анодные токи при сравнительно низком анодном напряжении. Лучевые тетроды нашли применение главным образом как генераторные лампы в передатчиках, а также в усилителях звуковой частоты. Примером отечественных ламп этого типа являются выходные лучевые тетроды 6П1П, 6П3С, 6П6С и др.

Устройство и принцип действия лучевого тетрода

Н. Д. Папалекси
Первая усилительная трехэлектродная электронная лампа была изготовлена в России в конце августа — начале сентября 1914 года. Сконс т руирова л ее Николай Дмитриевич Папалекси (1880–1947), научный консультант лаборатории Русского общества беспроволочных телеграфов и телефонов (РОБТиТ) в Петрограде. История этого изобретения такова. В июле 1914 года, встревоженный обстановкой накануне первой мировой войны, ученый вернулся на родину из Германии, где в Страсбургском университете работал под руководством немецкого физика К. Ф. Брауна, и сразу принялся за работу над лампой, предназначенной для усилителей армейского радиотелеграфа. Конструкция получила название «лампа Папалекси». Из-за несовершенства высоковакуумных насосов откачки в ее баллоне имелось некоторое количество воздуха с примесью паров ртути.
В начале тридцатых годов вспыхнул бум на автомобильные приемники. Специально для них в 1935 году были разработаны так называемые «металлические» лампы — с металлическим баллоном, так как обычные стеклянные не выдерживали вибрации и быстро выходили из строя. Новые лампы были рассчитаны на непосредственное питание от аккумуляторной батареи автомобиля, которая в то время состояла из трех последовательно соединенных аккумуляторов по 2,1 В (сегодня автомобили имеют шесть таких батарей). Исходя из этого и было выбрано напряжение для нитей накала радиоламп. (У всех современных электронных ламп напряжение накала нити 6,3 В. ) Автомобильные ламповые радиоприемники того времени весили 8,5–12 кг. Часто на приборном щитке размещался только пульт управ ления радиоприемником, а сам аппарат прятался где-нибудь в глубине салона. От ручек настройки и регулировки громкости к нему шли стальные тросы. Считалось, что антенны портят вид автомобиля, поэтому их тоже прятали, протягивая между крышей и потолком на кабриолетах — в тенте или попросту под подножкой.

Магнитные системы
клистрона конструкции
ООО «НПК ММС»
В последние 30 лет ХХ века электронные лампы подверглись значительному усовершенствованию. Были созданы миниатюрные и сверхминиатюрные лампы высокого качества, которые и по сей день продолжают во многих случаях удерживать свои позиции (не оставляя, например, никаких шансов полупроводникам в мощных радиопередатчиках). Так, памятным для телезрителей НТВ в Санкт-Петербурге оказался 1996 год, когда у их передатчика вышла из строя специальная лампа — клистрон. Покупка этой лампы в то время обошлась телекомпании почти в 80 млн рублей (примерно $16 тыс.). Причем изготовитель этой лампы московский завод «Титан» дает гарантию на ее работу всего 1000 часов (1,5 месяца). И это при такой высокой стоимости изделия. И когда лампа передатчика НТВ, проработав 1900 часов, снова вышла из строя в 1997 году, было решено демонтировать старый передатчик вовсе и установить вместо него другой, новейшей конструкции — на клистроне.
Последние два десятилетия отмечены электровакуумным ренессансом и в аудиотехнике. Проблема в том, что осталось очень мало фирм, производящих радиолампы, причем сосредоточены они в основном в России. Таким неожиданно приятным образом наше традиционное технологическое 10–20-летнее отставание обернулось не недостатком, а преимуществом. А дело все в том, что современные электронные приборы, основанные на транзисторах, не могут надежно работать в условиях экстремальных температур, сильных световых потоков и радиации, с подобной задачей могут справиться только вакуумные приборы.

Схема магнитной периодической фокусирующей системы лампы бегущей волны
Современные исследования в развитии вакуумной радиотехники сосредоточились на применении так называемых иллотропных структур углерода 60. Свойства этих структур позволили, в частности, использовать их при создании жидких кристаллических экранов, аналогичных нынешним высококачественным телевизионным панелям. Один из саратовских радиозаводов уже готовится к производству подобной продукции. Второе направление развития вакуумной радиотехники — создание ламп бегущей волны с конфигурацией в виде небольшого куба.
В заключение автор хотел бы выразить слова благодарности господину Гансу-Томасу Шмидту (Hans-Thomas von Schmidt) из Мюнхена за участие в обсуждении некоторых вопросов истории радиоэлектроники и высказанные им при этом полезные замечания, которые нашли отражение в этой статье.
Литература
- www.hts-homepage.de/hts-homepage.html — сайт von H. -T. Schmidt.
- Флеминг Д. А. Новые шаги в развитии телеграфирования с помощью электрических волн/ СПб. Сборник «Электрические колебания и волны». Вып. 1, 1910. С. 50–51.
- Энциклопедический словарь «Гранат». Изд. 13-е, т. 24. М., 1914. Кинематограф // Приложение.
- Robert von Lieben. Kathodenstrahlenrelais. Deutsche Patentschrift Nr. 179 807, vom 4. Marz 1906.
- Robert von Lieben, Deutsche, Eugen Reisz und Siegmund Strauss. Relais fur undulierende Strome, bei welchem durch die zu verstarkenden Stromschwankungen ein lonisator beeinflubt wird. Patentschrift. Nr. 236 716, vom 4. September 1910.
- Robert von Lieben, Deutsche, Eugen Reisz und Siegmund Strauss. Relais fur undulierende Strome. Deutsche Patentschrift. Nr. 249 142, vom 10. 20 Dezember, 1910.
- Lee de Forest. Device for amplifying feeble electric currents. US Patent Nr. 841 387, eingereicht am 25. Oktober 1906, erteilt am 15. Januar 1907.
- De Forest. The Audion. A New Receiver for Wireless Telegraphy (Parts I and II). Scientific American Supplement No. 1665, November 30, 1907, pp. 348–350; Scientific American Supplement No. 1666, December 7, 1907, pp. 354–356.
- Lee de Forest. Space Telegraphy. US Patent Nr. 879 532, eingereicht am 29. Juni 1907, erteilt am 18. Februar 1908.
- Митчелл Уилсон. Американские ученые и изобретатели. М.: Знание, 1964. С. 129.
- Минц А. Л. Катодный усилитель с питанием усилительной лампы переменным током. Патент СССР № 685, кл. 21а. Заявл. 17.04.1923.
- Чернышев А. А. Патент СССР № 266, кл. 21d, 13Q4. Способ нагрева эквипотенциального катода в электронных вакуумных реле. Заявл. 24.05.1921, № 74742 // Свод патентов на изобрет. 1925. Вып. 10. С.1
Статья опубликована в журнале «IT news» № № 20, 22 2006 г.
Перепечатывается с разрешения редакции.
Статья помещена в музей 17.05.2007