Универсальный логический элемент
Описание изобретения к авторскому свидетельству
Авторы изобретения: В.А. Мельников, А.А. Соколов, М.В. Тяпкин, В.А. Жуковский, В.И. Смирнов, В.В. Ульянов и М. Б. Цыбульников

Изобретение относится к области радиоэлектроники и вычислительной техники и может быть использовано в ЭВМ и устройствах дискретной автоматики.
Известен универсальный логический элемент, содержащий усилитель-формирователь и настраиваемую диодную матрицу, шины объединения положительных электродов диодов которой, кроме одной шины, соединены с входными шинами, а шины объединения отрицательных электродов диодов этой матрицы соединены через резисторы с источником напряжения.
Современные технологические методы позволяют упаковать большое количество логических элементов в одном корпусе микросхемы, что приводит к резкому возрастанию числа типов микросхем, что, в свою очередь, существенно усложняет их производство и использование; кроме того, логические схемы в сочетании с известными усилителями-формирователями требуют для своего переключения сигналов с относительно большой амплитудой. Это существенно усложняет разработку наиболее быстродействующих схем, приводя к резкому увеличению рассеиваемой мощности.
С целью сокращения типов элементов, уменьшения рассеиваемой мощности и увеличения нагрузочной способности элемента в предлагаемом логическом элементе свободная шина объединения положительных электродов диодной матрицы подключена к базе транзистора, которая соединена через один резистор с источником напряжения, а через другой резистор с коллектором этого же транзистора, эмиттер транзистора подключен к общей шине, а коллектор соединен с токозадающим резистором и с базой другого транзистора, включенного по схеме с общим коллекто10 ром, эмиттер этого транзистора соединен с базой переключателя тока на двух транзисторах, эмиттеры которых объединены и через резистор соединены с источником напряжения, а коллекторы соединены с выходными эмиттерными повторителями усилителя-формирователя и через резисторы с источником напряжения.
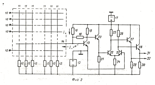
На фиг.1 дан пример настройки матрицы для реализации заданной функции; на фиг. 2 — полная схема предлагаемого универсального логического элемента; на фиг. 3 — диодная матрица, настраиваемая путем пережигания тонкой перемычки, включенной последовательно с диодом; на фиг. 4 — пример настроенной матрицы; на фиг. 5 — ее условное изображение.



Если одну из систем шин (фиг. 1), например систему отрицательных шин 1 - 4, подключить через резисторы 5 к источнику напряжения 6, то каждая из этих отрицательных шин ё подключенными диодами образует схему «И» в отрицательной логике (низкий уровень соответствует коду «1»).
Одна из положительных шин 7, подключенные к ней диоды и сопротивление 8 утечки, соединенное с источником 9 реализуют схему «ИЛИ», и остальные положительные шины а1; б1; в1; а2; б2; в3; г3 являются входами схем «И».
Матрица (фиг. 1) реализует функцию
f = а1б1в1+а2б2+а1б2в3г3 +в1г3.
Таким образом, настроенная и включенная соответствующим образом матрица представляет собой диодную логическую схему «пили», аналогичную используемой в схемах типа ДТЛ.
Вид реализуемой функции полностью определяется настройкой диодной матрицы.
При помощи матрицы необходимого размера можно реализовать одновременно несколько различных функций, каждая из которых имеет свою выходную шину.
Логический элемент состоит из диодной матрицы, токозадающих резисторов и усилителя-формирователя.
Входы логического элемента соединены с шинами 10 (фиг. 2), шины 11 через токозадающие резисторы 12 с источником постоянного напряжения 13, а выходная шина 14— с базой транзистора 15, эмиттер которого заземлен. База транзистора 15 соединена через резистор 16 с источником напряжения 17 и через резистор 18 обратной связи — с коллектором того же транзистора.
Коллектор транзистора 15 соединен через токозадающий резистор 19 с источником напряжения 17 и с базой транзистора 20, эмиттер которого через резистор 21 соединен с источником напряжения 13; этот же эмиттер соединен с базой переключателя тока на транзисторах 22 и 23 и резисторах 24—26, причем база транзистора заземлена.
Коллекторы транзисторов 22 и 23 через эмиттеры повторители на транзисторах 27 и 28 и резисторах 29 и 30 соединены с выходами 31 и 32 усилителя-формирователя, а через резисторы 25 и 26 — с источником напряжения 17.
Универсальный логический элемент работает следующим образом.
Благодаря наличию глубокой отрицательной обратной связи через резистор 18 транзкстор 15 всегда находится в линейном режиме (в активной области), при этом входное сопротивление схемы в точке «а» (фиг. 2) мало (порядка нескольких Ом), а коэффициент усиления полностью определяется резистором 18 обратной связи, следовательно при изменении входного тока (тока в шине 14) потенциал базы транзистора 15 практически не меняется.
Ток в выходной шине 14 отображает функцию, реализуемую настроенной диодной матрицей, причем значению «0» функции соответствует практически нулевая величина тока, а значению «1» — ток величины, определяемой резистором 12 и источником напряжения 13.
Если ток в шине 14 равен нулю, то ток, задаваемый резистором 16, приводит к понижению потенциала коллектора транзистора 15 относительно потенциала его базы.
При появлении тока в шине 14 потенциал коллектора транзистора 15 повышается, величина тока выбирается таким образом, что потенциал коллектора становится выше потенциала базы.
Переключение диодной матрицы приводит к переключению тока в шине 14, что, в свою очередь, вызывает изменение потенциала коллектора транзистора 15 относительно потенциала его базы.
Перепад напряжения на коллекторе транзистора 15, смещенный на эмиттерном переходе транзистора 20, обеспечивает надежное управление переключателем тока.
Перепады напряжения на коллекторах транзисторов 22 и 23 смещаются эмиттерными повторителями 27 и 28, чем обеспечивается ненасыщенный режим работы транзисторов 22 и 23 и возможность управления входами аналогичного универсального логического элемента.
Таким образом, функция, заданная сигналами на входах диодной матрицы, реализуется парафазными сигналами на выходах логического элемента, причем выход 31 соответствует прямому значению функции, а выход 32 — ее инверсии.
Поскольку потенциал базы транзистора 15 практически не меняется, амплитуда сигнала на выходе логического элемента должна быть достаточна лишь для переключения собственно диодной матрицы.
Паразитная емкость базы транзистора 15 на землю слабо влияет на время переключения схемы, что позволяет при необходимости объединять на входе транзистора 15 несколько диодных матриц, не вызывая заметного изменения времени переключения логического элемента.
Все транзисторы усилителя-формирователя работают в ненасыщенном режиме, обеспечивая при заданной мощности максимально возможную скорость переключения логического элемента.
Таким образом, предлагаемая схема универсального логического элемента позволяет с минимальными потерями по времени и мощности рассеивания реализовать сложные логические функции.
Предмет изобретения
Универсальный логический элемент, содержащий усилитель-формирователь и настраиваемую диодную матрицу, шины объединения положительных электродов диодов которой, кроме одной шины, соединены с входными шинами, а шины объединения отрицательных электродов диодов этой матрицы соединены через резисторы с источником напряжения, отличающийся тем, что, с целью сокращения типов элементов, уменьшения рассеиваемой мощности и увеличения нагрузочной способности элемента, свободная шина объединения положительных электродов диодной матрицы подключена к базе транзистора, которая соединена через один резистор с источником напряжения, а через другой резистор — с коллектором этого же транзистора, эмиттер транзистора подключен к общей шине, а коллектор соединен с токозадающим резистором и с базой другого транзистора, включенного по схеме с общим коллектором, эмиттер этого транзистора соединен с базой переключателя тока на двух транзисторах, эмиттеры которых объединены и через резистор соединены с источником напряжения, а коллекторы соединены с выходными эмиттерными повторителями усилителя-формирователя и через резисторы — с источником напряжения.

Материал помещен в музей 15.01.2009 года